omc electric shift parts diagram

Mercury Marine 25XD HP Throttle & Shift Linkage (Electric) Parts. 9 Pictures about Mercury Marine 25XD HP Throttle & Shift Linkage (Electric) Parts : Johnson Remote Control Group Electric Shift Parts for 1969 85hp, 1972 225 HP OMC Outdrive, Electric Shift Stringer With Electric Tilt and also Mercury Marine 25XD HP Throttle & Shift Linkage (Electric) Parts.

Mercury Marine 25XD HP Throttle & Shift Linkage (Electric) Parts

Mercury Marine 25XD HP Throttle & Shift Linkage (Electric) Parts www.marineengine.com

mercury parts 25xd marine throttle linkage shift electric hp aftermarket equivalent listed oem example each

Johnson Remote Control Group Electric Shift Parts For 1969 85hp

Johnson Remote Control Group Electric Shift Parts for 1969 85hp www.marineengine.com

evinrude 85hp

Evinrude Boats: OMC Electric-Shift Model 14 Stern Drive © 2004 Lee K

Evinrude Boats: OMC Electric-Shift Model 14 Stern Drive © 2004 Lee K hhscott.com

omc shift electric evinrude lower stringer unit 1977 production drive drives remained generation v6

EVINRUDE JOHNSON Outboard Wiring Diagrams -- MASTERTECH MARINE

EVINRUDE JOHNSON Outboard Wiring Diagrams -- MASTERTECH MARINE maxrules.com

wiring diagram evinrude omc 140 1989 ignition cobra control 1988 120 box hp outboard diagrams johnson wire boat maxrules controls

Evinrude Boats: OMC Electric-Shift Model 14 Stern Drive © 2004 Lee K

Evinrude Boats: OMC Electric-Shift Model 14 Stern Drive © 2004 Lee K hhscott.com

shift electric outboard evinrude omc boat engine motor lower unit johnson drive oil stringer transmission boats 1962 stern system control

EVINRUDE JOHNSON Outboard Wiring Diagrams -- MASTERTECH MARINE

EVINRUDE JOHNSON Outboard Wiring Diagrams -- MASTERTECH MARINE www.maxrules.com

wiring trim hp evinrude 40 diagram gauge johnson outboard yamaha power motor boat wire 1984 diagrams omc 1983 v4 lark

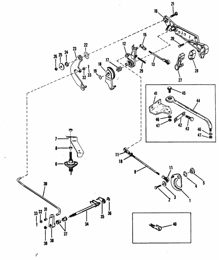
SHIFT LINKAGE - 1998 Evinrude Outboards 25 BE25ARECA | Crowley Marine

SHIFT LINKAGE - 1998 Evinrude Outboards 25 BE25ARECA | Crowley Marine www.crowleymarine.com

linkage shift evinrude 1998

1972 225 HP OMC Outdrive, Electric Shift Stringer With Electric Tilt

1972 225 HP OMC Outdrive, Electric Shift Stringer With Electric Tilt www.youtube.com

omc outdrive stringer motor electric tilt hp shift

1967 Chevelle Steering Column Diagram

1967 Chevelle Steering Column Diagram sirdarkheart.blogspot.com

steering column c1500 1985 chevelle 1966 steeringcolumnservices

Evinrude boats: omc electric-shift model 14 stern drive © 2004 lee k. Wiring diagram evinrude omc 140 1989 ignition cobra control 1988 120 box hp outboard diagrams johnson wire boat maxrules controls. Shift linkage