peltier module electric diagram

Meerstetter - TEC / Peltier Element Design Guide | Compendium. 9 Pics about Meerstetter - TEC / Peltier Element Design Guide | Compendium : Peltier Wiring Diagram, thermoelectricity - Why does a thermoelectric generator need both p and and also Schematic diagram of the DAQ module, showing digital control.

Meerstetter - TEC / Peltier Element Design Guide | Compendium

Meerstetter - TEC / Peltier Element Design Guide | Compendium www.meerstetter.ch

peltier tec element thermoelectric controller system heatsink fan guide typical

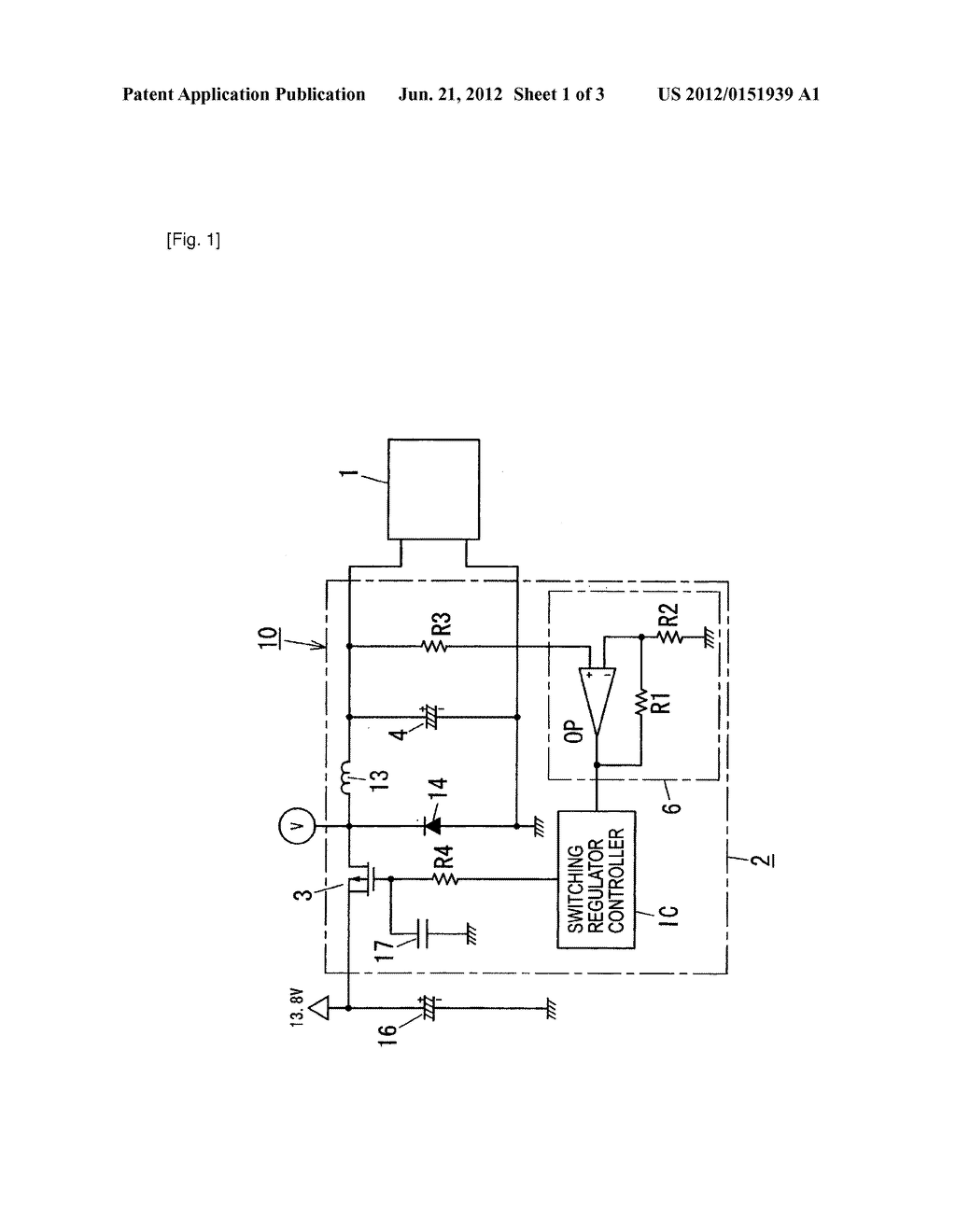
Peltier Wiring Diagram

Peltier Wiring Diagram wiringall.com

peltier diagram wiring cold applied wires voltage plate those looking wiringall

Transient Infrared Characterization Of Peltier Effect.... | Download

Transient infrared characterization of Peltier effect.... | Download www.researchgate.net

transient peltier

Schematic Diagram Of The DAQ Module, Showing Digital Control

Schematic diagram of the DAQ module, showing digital control www.researchgate.net

daq ina226 universiteit informatics brussel etro vub

Peltier Module: Mechanism, Pros, Cons, Application, Specification, Etc

Peltier Module: Mechanism, Pros, Cons, Application, Specification, etc www.tec2med.com

peltier module thermoelectric semiconductor refridgeration tec1 source

Thermoelectricity - Why Does A Thermoelectric Generator Need Both P And

thermoelectricity - Why does a thermoelectric generator need both p and physics.stackexchange.com

generator thermoelectric power does cooler elements generation flow current electrons need thermoelectrics why diagram electric electrical works device thermo both

⚡️ Thermoelectric Cooler (TEC) Peltier Water Block For Cooling A CPU

⚡️ Thermoelectric Cooler (TEC) Peltier Water Block For Cooling a CPU www.youtube.com

peltier water cooler cooling block cpu thermoelectric tec

THERMOELECTRIC REFRIGERATOR: 3) WHAT IS TEC1-12706?

THERMOELECTRIC REFRIGERATOR: 3) WHAT IS TEC1-12706? amirfidtri.blogspot.com

thermoelectric heat electricity convert into construction energy tec1 overview refrigerator diagram temperature te directly thermoelectrics device lauda noah another

Hardwaredesign

hardwaredesign people.ece.cornell.edu

circuit peltier cooler driving actuator figure current heater

Thermoelectric refrigerator: 3) what is tec1-12706?. Peltier wiring diagram. Circuit peltier cooler driving actuator figure current heater