multifuel engine ip diagram

К1107ПВ1, КР1107ПВ1 - Быстродействующий 6-разрядный АЦП с временем. 2 Pictures about К1107ПВ1, КР1107ПВ1 - Быстродействующий 6-разрядный АЦП с временем : К1107ПВ1, КР1107ПВ1 - Быстродействующий 6-разрядный АЦП с временем, SIEMENS 1P 6SN1118-0DM33-0AA2 VER. C CIRCUIT BOARD MODULE - BTM Industrial and also К1107ПВ1, КР1107ПВ1 - Быстродействующий 6-разрядный АЦП с временем.

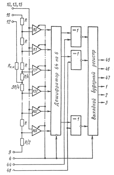
К1107ПВ1, КР1107ПВ1 - Быстродействующий 6-разрядный АЦП с временем

К1107ПВ1, КР1107ПВ1 - Быстродействующий 6-разрядный АЦП с временем www.qrz.ru

SIEMENS 1P 6SN1118-0DM33-0AA2 VER. C CIRCUIT BOARD MODULE - BTM Industrial

SIEMENS 1P 6SN1118-0DM33-0AA2 VER. C CIRCUIT BOARD MODULE - BTM Industrial auctions.btmindustrial.com

0aa2 1p 0dm33

0aa2 1p 0dm33. Siemens 1p 6sn1118-0dm33-0aa2 ver. c circuit board module